Ligue agora: (31) 2519-5400

Balancim para Big Bag com Trava – HLC

Descrição do produto

O Balancim para Big Bag com Trava permite o içamento e transporte de Big Bag de forma segura e possui trava de segurança.

Utilização: Içamento e transporte de Big Bag em gruas, monovias, ponte-rolante e empilhadeiras.

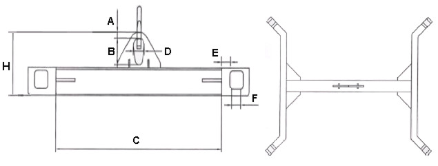
Dimensões

Código de ReferênciaCarga Máxima de Trabalho (Ton)Dimensão do perfil do material (mm)Dimensões (mm)Peso (kg)
ABCDEFH
BBCTI - HLC - 1,01,0803090870603070200 38,8
BBCTI - HLC - 1,51,510022060,0
BBCTI - HLC - 2,02,011040062,5