Ligue agora: (31) 2519-5400

Guincho de Alavanca

Descrição do produto

Os guinchos alavanca, oferecem facilidade de manobra com muita segurança. O equipamento é indicado para trabalhos que necessitam da redução do peso da carga a ser movimentada.

Os guinchos de alavanca padrão utilizam cabos de aço com a construção 6×25+AACI Filler, galvanizados e possui comprimento padrão de 20 metros de cabo.

Para a fixação do cabo de aço na carga, em uma das extremidades é produzido um laço com sapatilha e gancho, onde é prensada uma luva, proporcionando garantia da estabilidade do equipamento.

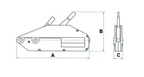
Dimensões

Código de ReferênciaCarga Máxima de Trabalho (Ton)Dimensões (mm)Diâmetro do cabo (mm)Peso (kg)
ABC
GAI - 0,80,8426238648,36,4
GAI - 1,61,65452849711,012,0
GAI - 3,23,266032511616,023,0
GAI - 5,45,493039015020,058,0