Ligue agora: (31) 2519-5400

Olhal de Suspensão TWNI1890

Descrição do produto

Olhal fixo ou olhal giratório e articulado?

Os parafusos olhais tradicionais (também conhecidos como DIN 580) são destinados à elevação vertical: em um ângulo de 0° no sentido da tração. Eles são estritamente proibidos para levantamento em um ângulo de 90° no sentido da tração. Os olhais TWNI1890 podem ser usados em qualquer tipo de situação de elevação, se há um ângulo ou uma elevação vertical, e/ou para todos os tipos de ancoragem.

Ilustração da aplicação de olhais sem a condição giratória e de articulação:

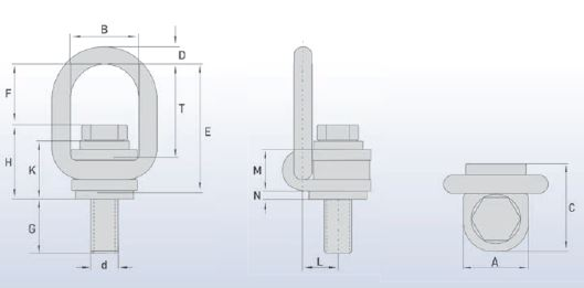
Dimensões

Código de ReferênciaCarga Máxima de Trabalho (ton) Dimensões (mm)Peso (kg)
GEFDTBACHKL
TWNI1890 - M100,631771378,5533532433528170,29
TWNI1890 - M121,002271368,5533532433628170,31
TWNI1890 - M161,7028984613705048645242250,95
TWNI1890 - M202,5038984413705048645242251,10
TWNI1890 - M244,004013470161025850716449281,70
TWNI1890 - M306,004414973201107065887557353,10
TWNI1890 - M368,006414970201407067887957353,50
TWNI1890 - M4210,0074191982414584811069367436,10
Código de ReferênciaAplicação / Capacidade (ton.)
90º90º0º a 45º46º a 60ºAssimétrico0º a 45º46º a 60ºAssimétrico
TWNI1890 - M100,631,260,631,260,900,630,631,301,000,63
TWNI1890 - M121,002,001,002,001,401,001,002,101,501,00
TWNI1890 - M161,703,401,703,402,401,701,703,602,601,70
TWNI1890 - M202,505,002,505,003,502,502,505,303,802,50
TWNI1890 - M244,008,004,008,005,704,004,008,506,005,00
TWNI1890 - M306,0012,006,0012,008,506,006,0012,509,006,00
TWNI1890 - M368,0016,008,0016,0011,208,008,0017,011,808,00
TWNI1890 - M4210,0020,0010,0020,0014,0010,0010,0021,215,0010,00